Name the type of the reamer.?
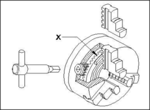
: What is the name of the part marked x?
Your class start from 12:15:45pm and end at 01:12:10pm find the class duration
What is the name of part marked x in dial gauge?
Which type of fit, the tolerance zone of hole is below the tolerance zone of shaft?
Rearrange the words to form a question. kind of/ what/ is this/ machine?
Which one is an exclamatory sentence
Which part of a reamer is designed for the removal of chips?
The word that expresses a sudden and strong feeling is called______
Why lime stone serves as flux added to the ore in the blast furnace?
What is the method of removing the broken stud?
A software application used to enable computer users to locate and access web page is called _______
What is the name of instrument?
Rearrange the words to form a sentencesmall pieces/ into/ cut/ the onions
Which ore is used to extract zinc?
What will happen if the clearance angle of drill is more?
When I introduce myself, it _______________
Why grey cast iron widely used for machine tools?
What is a shortcut key for “select all” command?
Which part is mainly supporting the lengthy job in lathe machine?
Low level language is also called
Which one of the following is a describing word?
What is the correct question to ask to get this response? - 'It is 2 kms from the railway station.'
What is the name of the fit?
The train ____________through the tunnel . ( use present progressive tense )
: Which micrometer having provision of interchangeable anvils?
What mechanism is used in the lever type dial test indicator?
What is the name of the tool?
What is the name of the process of finishing the drilled hole?
When is capital letter used?
Why drilled holes are over sized in drilling operation?
Which surface is used for scraping large bearing surface?
What are the methods to draw views?
Which expressions will you choose to address your boss in an email?
If the numerator and denominator of a fraction are equal, then the fraction:
How to identify high spots while scraping?
Which expression will you use to introduce yourself?
The expansion of RAM is _______
A French curve is used to draw
What is the name of the angle in the drill bit marked as x?
Which of these is a form of non-verbal communication?
Which part of vernier micrometer is marked with vernier scale graduation?
If 3/4 is equivalent to x/24, then the of x is:
Change the sentence to past tense. He is writing.
Which term describes the axial movement of screw in one complete turn?
Formal greetings are used when _______
How many fundamental tolerance grades are available?
What is the name of the part marked X of lever type dial test indicator?
Which dimension is measured by using screw thread micrometer?
What percentage of dimension decrease from actual dimension in isometric view.
What is the name of the die
Fill in the blank with proper pronoun “I made this cake _______
What is a angle in third angle projection?
What is the product obtained from blast furnace?
Which one is in active voice?
Curriculum Vitae (CV) is also known as..
Find out the spindle speed for turning dia 40 mm cast iron rod, if the cutting speed is 15 m/min?
What V denotes in grinding wheel specification 32A46H8V?
Which one is used to draw projection
Compass used to draw for__
Which term indicates the algebraic difference between the actual size and its corresponding basic size?
That was my pen. Where is _____?
In MS Excel, collection of work sheet is known as ____
What is the tool used in grinding operation?
Rahul enjoys ____________ with his pet dog
How the size of drill bit is measured?
Replace the underlined word with the correct pronoun from the given options I know Virat Kholi. I know _____________.
What is the standard unit of measurement of Force?
Identify the type of bolt?
What is the name of the part marked as X?
The word 'when' denotes ____________
What is the product obtained from blast furnace?