What is the material used to manufacture rivets?
The drawing boards are made of many parts. One of them is batten. The purpose of batten is to
Standup India supports entrepreneurship among ____________ and _________ communities
The challenges faced by migrant workers are .............. any other workers
The least count of caliper is 1/64 inch and in mm.
Which factor determine the selection of wire in screw thread micrometer?
Different people work together on the same task is called
Pick the sentence with correct punctuation.
Name the type of part shown in assembly technique.
Largest four digit No. which is divisible by 38 is:
you can speak to your friend
What is the name of the part marked 'X' in the lathe carriage?
Identify the type of bolt?
Which type of pencil lead grade is softest?
What is the mass in grams, if a force of 15 tyres acting on a mass m produces an acceleration of 2.5 cm/sec²?
What is the name of gauge?
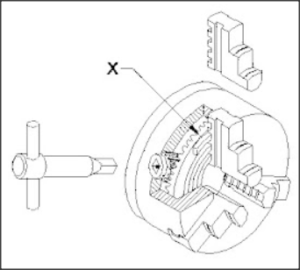
What is the name of the part marked as ‘X’?
Which metal is resistant to many type of acid
Convert 45°C (Centigrade) into °F (Fahrenheit).
What is the product obtained from blast furnace?
What is the name of operation?
Which is used to draw an angle upto 0-180° or 360°?
Finding a solution to any problem is known as _______skill
Bench vice is also called as vice.
Scientists are warning us that the rise in earth’s temperature causes
The way we interact, manage and deal with our external environment is known as_________skills.
What are fundamental units?
An employee comes late to the office every day. He is not -- --------------
What are the three factors causes fire?
In which season the lead of pencil becomes hard?
Which type of screw threads are rounded at the crest and root?
Money borrowed from bank or a person is _____
What is the name of the part marked as ‘X’?
Which chisel used for squaring materials at the corners, joints?
The benefits of learning online are ___
Which rivet is used to avoid the projection of rivet head?
What is the accuracy of metric outside micrometer?
_________ is defined as remuneration by way of salary, allowance or payment for the work done
For brazing spelter is an alloy of silver, copper, zinc and _________mixture.
It is the responsibility of the ..................... to provide water, power and other basic facilities to the workforce
Write the name of an Instrument which is used to dra small circle.
Which part of the bevel protractor contact with the inclined surface while measuring?
Which among the follwing is not an Internet browser?
Indian constitution is a set of _________ of our country
What is the color code for plastic waste bin?
Which device is used in conjunction with dial test indicator?
name of the notch used in making rectangle tray?
There are .......worksheets in a work book.
What is the primary memory of a computer?
What is the use of feeler gauge?
What is the use of groover in sheet metal work? |
What is the merit of three jaw chuck in lathe machine?
Which notch is cut at an angle of 45° to the corner of the sheet metal?
What is the material to manufacture bench vice?
What are the different types of engineering drawing as per ISI?
English is a ________ language
Vice jaws plates are made of
Name the type of the reamer.?
What is the side of a square whose area is 625 mm2?
Rearrange the jumbled words to form a meaningful sentence. as supervisor/ in BHEL/ worked/ Peter
A introduction letter is a__
A poster presents information by using
An employee is someone who
What is the full form of BIS?
Which gauge is used to compare the profile of thread?
Discrimination can make a person feel ___
Name the angle marked as X in drill bit
Which gauge used to check internal thread of components
Which type of thread is used in screw jack?
What is the colour painted on the acetylene gas cylinders?
Name the part marked as X